
文|野马财经孙梦圆
编辑丨于婞
葵花药业(002737.SZ)“二代”提前交棒了。
2月9日,公司公告,总裁关一因个人原因辞任总经理,仍保留董事等职务,由“老将”周建忠接替她的职位。这位“关家二小姐”,原定任期至2027年6月25日,此次提前16个月离职,引发外界关注。财报显示,2024年,她以483.95万元的税前报酬位列公司董监高首位,金额是其姐关玉秀的两倍。
与此同时,同步调整的还有公司董事会里的关键席位:姐姐、董事长关玉秀进了审计委员会,关一自己则转去了薪酬与考核委员会。而周建忠则进入了战略委员会。这意味着,关家姐妹虽退出一线经营,但仍手握审计与薪酬这两大部门的话语权。
创始人关彦斌直接、间接持股27.87%,为葵花药业的实控人;其女儿关一通过葵花集团等间接持有葵花药业2.56%权益股份,为关氏家族控制体系中的核心成员;而接任总裁的周建忠,仅直接持有上市公司500股,属于象征性持股,其目前担任公司控股股东葵花集团有限公司董事长、黑龙江金葵投资股份有限公司董事长,同时,周建忠参股葵花集团部分控股子公司并担任董事。公告称,这次调整是为了“进一步优化公司治理结构,打造职业化经理人团队,促进公司持续、稳定发展。”

图源:天眼查
浙大城市学院副教授林先平表示,关氏姐妹任职审计、薪酬委员会,既体现家族企业治理延续性,但也可能引发对公司治理独立性的关注。审计委员会和薪酬委员会是公司治理的关键部门,需要保持独立性和专业性。若家族成员同时担任这些职务,需确保其具备相应资质并严格遵循监管要求,以维护公司治理的透明度和公正性,避免潜在的利益冲突。
截至2026年2月13日,葵花药业报收14.01元/股,总市值82.11亿元。
人事变动频繁
公开资料显示,关一出生于1982年,拥有大学本科学历,目前就读于长江商学院EMBA,无境外永久居留权。她与公司董事关彦玲为叔侄关系,与董事长关玉秀为姐妹关系。
2002年,关一加入葵花药业,历任广告部副总经理、市场管理中心总经理、葵花药业集团医药有限公司总经理、董事。
关一在任期间,让“小葵花妈妈课堂”成为了大众耳熟能详的广告语。
2007年,她推动“葵花”商标获评中国驰名商标;2008年,启动小葵花儿童药战略布局,通过品牌运营、市场管理及大品种规划等模式,助力小葵花儿童药成为儿童药领域领军品牌。
而此次接替关一的周建忠,也是葵花药业的一名“老将”。现年58岁的他,可以称得上是一位经验丰富的职业经理人。
周建忠为医药行业资深高管,历任武汉远大制药、武汉中联药业总经理,葵花药业副总经理及吉林英联生物制药董事长兼总经理等职。目前,他担任葵花集团、黑龙江金葵投资董事长,同时任葵花药业董事、总裁。
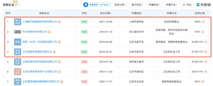
天眼查显示,周建忠除任职上市公司外,还通过直接或间接持股,实际控制4家存续企业,业务覆盖批发零售、信息技术、社区服务、养老等领域;与此同时,他操盘葵花集团健康酒、大健康科技等相关业务。

图源:天眼查
事实上,葵花药业的人事变动从2024年以来,就较为密集。
2024-2025年期间,葵花药业累计有6位副总经理离职,包括李金明、朱晓南、陈亮、马新、郭超、海洋等,其中副总经理朱晓南上任仅3个月,便因个人原因离职。同时,公司聘任了杨阳、刘光涛、肖淋、赵鹏等新副总经理,新任副总经理多来自知名药企,侧重销售、生产等领域。
针对近两年管理层频繁变动,葵花药业2月6日接受机构调研时回应称,公司治理合规、内控有效,重视管理团队建设,采用高层外聘、中层内生模式,兼顾行业视野与团队稳定,高管变动属正常流动,具体原因已披露。当前行业变革深化、业绩承压,公司正强化核心业务运营,引进多领域专业人才,打造专业化营销团队,新任管理团队经验丰富、适配岗位,助力战略落地与稳健发展。
“姐妹花”曾仓促接班
葵花药业高管变动的背后,还牵扯着一段错综复杂的家族往事。
1998年,关彦斌接手濒临破产的国营五常制药厂,同年与张晓兰结婚,二人为重组家庭:关彦斌与前妻育有两女关玉秀、关一;张晓兰则携与前夫所生之子宋萌萌一同生活,婚后,关彦斌与张晓兰于2008年生有一子。
2005年,葵花药业集团成立,并于2014年在深交所成功上市。公司上市后,关彦斌身价大增,在2016年的“胡润百富榜”中以45亿元的身价位居榜单第890位,也成了名副其实的“黑龙江富豪”。
2017年7月13日,关彦斌与张晓兰官宣离婚。张晓兰选择“净身出户”,不仅放弃约16亿元的财产分割,还将所持全部上市公司股份转让给关彦斌,后者以现金方式补偿其9亿元。张晓兰同时辞去公司董事、副总经理职务,这一举动一度被外界称为“中国好前妻”。至此,关彦斌成为葵花药业唯一实际控制人。
而就在这则离婚公告发布的10天后,2017年7月22日,关一被提名为公司第三届董事会非独立董事候选人,并于同年9月正式当选。
2018年4月,在葵花药业改制20周年庆典上,关彦斌发布自传《悬壶大风歌》,该书因未充分体现张晓兰的贡献,引发后者强烈不满。同年12月,双方在张晓兰父母家中发生争执,关彦斌持菜刀砍伤张晓兰后试图自杀,张晓兰经抢救生还,但最终因为伤势过重成了植物人。
2019年元旦,葵花药业发布公告,公司董事长、总经理关彦斌因个人年龄原因,申请辞去公司董事长、总经理等职务,当时并未提及上述案件,因此,外界普遍猜测是否与离婚协议有关。随后,关一进入被任命为公司总经理,玉秀被任命为公司董事长。
不过,一年后,这起“杀妻案”终于浮出水面。2020年12月,葵花药业公告披露关彦斌因故意杀人罪被判处有期徒刑11年,二审维持原判。案发后关彦斌已辞去上市公司所有职务,但仍为公司实际控制人。
值得一提的是,即便关一此次卸任公司总裁,关氏家族仍牢牢掌控葵花药业。值得一提的是,即便关一此次卸任公司总裁,关氏家族仍牢牢掌控葵花药业。公司实控人关彦斌通过三大主体合计控制公司55.55%股权,是绝对核心;关一、关玉秀则通过家族平台分别间接受益持股约2.56%和2.45%,父女三人合计受益持股约32.87%。同时,在9名董事会成员中,关彦斌三弟关彦玲及女儿关玉秀、关一均位列其中。

图源:天眼查
数据显示,在“姐妹花”接班的初期,2019-2020年,葵花药业连续两年营收下滑,不过很快止跌回升,并于2023年创下上市以来最好业绩,实现归母净利润11.19亿元,同比增长29.05%。
不过,在姐妹二人掌舵期间,葵花药业亦曾因公司治理问题收到过监管警示,起因是葵花药业2024年与关联方格乐瑞(无锡)营养科技有限公司的全资子公司上海海维生物科技有限公司发生了一笔金额达0.32亿元的采购业务,未按规定履行关联交易的审议程序及信息披露义务,2025年10月,黑龙江证监局向关玉秀、关一、董事会秘书周广阔出具了警示函,认定相关责任人未勤勉尽责,对上述违规行为负有主要责任。
上市后首次亏损,2025年预亏最高3.8亿元
葵花药业是一家以生产中成药为主导,以化学药、生物药和健康养生品为两翼的大型品牌医药集团,拥有“小葵花”儿童药与“葵花”成人药两大核心品牌。儿童药主打小儿肺热咳喘口服液/颗粒、小儿柴桂退热颗粒等产品,成人药产品则覆盖消化系统、呼吸感冒系统、风湿骨病系统、心脑血管系统、妇科等领域,主打产品为护肝片、胃康灵胶囊/颗粒,其中,护肝片的发货金额在2023年成功突破10亿元。
即使有“黄金大单品”的加持,公司连续两年业绩大幅下滑。2024年,葵花药业营收同比大跌40.76%至33.77亿元,归母净利润下滑56.03%至4.92亿元;另据2026年1月29日发布的业绩预告显示,2025年归母净亏损额度预计在2.4亿元至3.8亿元之间,与上年同期4.92亿元的盈利相比,下滑幅度或达148.78%至177.23%。
公司将此次的亏损归结为渠道调整、产销下滑拉低毛利率、销售费用增加及研发投入维持高位,并称2024年下半年起主动优化渠道库存,利于长期发展。
但数据显示,截至2025年三季度末,公司存货周转天数升至198.35天,较2024年末增加了30天,较2023年末,增加了超过90天。
此外,在成本端,中药价格暴涨,也使得公司毛利率出现下滑。财报显示,较2025年三季度毛利率37.65%,较2022年的57.84%大幅下降近20%。公司在上述投资者开放日活动中坦言,中药材以外采为主,通过共建GAP基地保障原料品质,并建立差异化采购、精细化管理、优化供应链、动态调控库存等多维机制,应对原料价格波动风险。
除渠道与成本因素外,葵花药业营销体系的重构,给经营带来不小压力。
此前公司依靠“葵花”“小葵花”双品牌与高额营销投入站稳OTC市场,2023年销售费用达13.67亿元,占营收比重23.98%,也推动当年营收与净利润双双创下历史新高。但2024年公司营销策略发生急转弯,销售费用大幅缩减至4.31亿元,同比下降68.46%,占营收比降至12.76%;其中广告及业务宣传费、促销咨询服务费占比从以往的80%回落至50%左右,营销投入明显收缩。2025年一季度销售费用进一步降至8221.58万元,同比下滑79.19%,三季度虽小幅回升至3.36亿元,仍远低于此前水平。
不过,销售费用的大幅削减并未改善业绩,反而与营收、利润同步走低:2024年在销售费用减少超9亿元的同时,公司营收下滑40.76%,归母净利润降幅达56.03%,呈现典型的“费用降、业绩跌”态势。对此,公司曾解释称:从阶段性经营视角看,短期营销推广与品牌建设强度加大会呈现与当期销售收入不同步现象,导致销售费用率偏高。
不过,与大笔销售费用相比,葵花药业在研发上的投入却不高。
数据显示,葵花药业的研发投入呈现收缩态势。2024年,公司研发费用约为1.24亿元,同比下降3.51%;研发人员数量也从2019年的654人缩减至2024年的441人。进入2025年,这一趋势仍在延续。前三季度,公司销售费用累计约为3.36亿元,同比下降37.70%;同期研发费用累计约为0.66亿元,同比下降16.78%。以此计算,2025年前三季度的研发费用仅为销售费用的20%。

图源:2025年三季报
围绕葵花药业在营销与研发两端的投入变化及业绩表现,资深企业战略和技术创新管理专家、科方得咨询机构负责人张新原指出,平衡营销与研发的关键在于,以研发构建长期竞争力,以精准营销支持市场渗透,形成产品驱动与市场驱动的良性循环,从而避免业绩大幅波动。
在渠道调整、成本上行与营销转型的多重挑战下,葵花药业此前高度依赖营销驱动的增长模式正面临考验。随着职业经理人接手日常经营,公司能否在控制销售费用与保持市场地位之间找到新平衡?而曾凭借“妈妈课堂”赢得广泛信任的“小葵花”品牌,又该如何在竞争加剧、消费者认知变化的环境中,延续其品牌故事的影响力?你如何看待葵花药业此次调整?“小葵花”的未来故事又该如何讲述?欢迎在评论区留下您的观点。
盈胜优配-盈胜优配官网-正规的股票杠杆平台-在线杠杆配资提示:文章来自网络,不代表本站观点。